Alennuskoodi / lahjakortti
Onko sinulla kampanja- tai alennuskoodi?
Jaa tuote
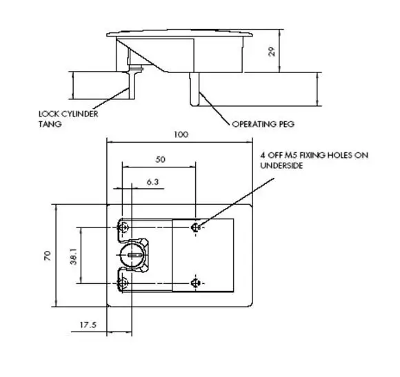
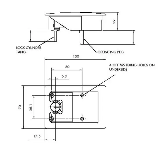
Ulko-oven Lukko Caralock Solifer, Kafi, Matkaaja, Böckman


Ale -8%


Böckman hevostrailerin lukko sisä + ulko-osa Haba
Tarjoustuote!
Nyt vainSäästä 6,96 €
80,04 €Ovh. 87,00 €
-8%
Hinta voimassa 28.3.2027 asti.
- Tuotekoodi: 7201000
- Heti varastosta 24 kpl (Verkkokaupan varasto)
- Toimituskulut alkaen 8,90 €Nouto varastosta0,00 €
kpl
Böckman hevostrailerin lukko sisä + ulko-osa Haba
Myymälä
Saatavuus
Osoite
Yhteystiedot ja aukioloajat
Nouto Postista
9,90 €
Nouto Postin automaatista
8,90 €
Postin kotiinkuljetus
12,90 €
Rahditus (Markiisit, teltat, jääkaapit, akselit, ilmastointilaiteet) )
69,00 €
Nouto varastosta
0,00 €